Servelect
  • Inicio
  • Tecnologia
    • Automatizacion
    • Seguridad
    • Proyectos
  • Capacitacion
  • Blog
  • Contacto
  • Capacitacion
  • Todo
  • Electricidad
  • Automatizacion
  • Electronica
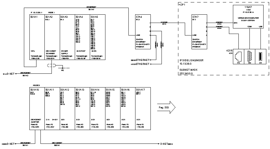
  • Arquitectura de conexion de PLC con diferentes modulos de control mediante un bus de 
                                                     conexion entre modulos.
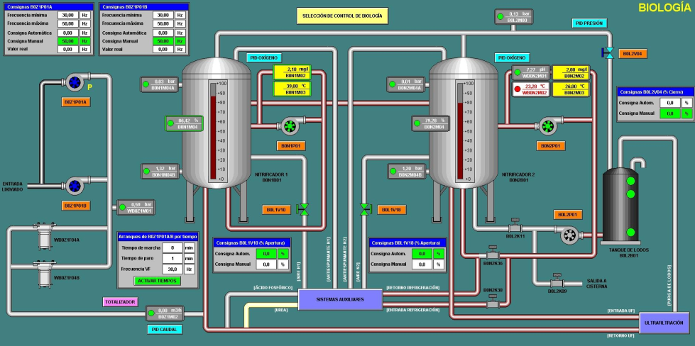
  • Puedes conectar a un PLC equipo como HMI, servomotores, encoders, botonores, inversores, con 
                                                     diferentes tipos de redes de comunicacion.
  • El potencial que tiene un PLC realmente es sumamente amplio, puedes conectar lo que quieras
                                                     como una etiquetadora, toda una linea de produccion, etc.
  • Con los desarrollos electronicos puedes realizar varios tipos de control de pequeña a 
                                                     mediana escala de tal forma que puedan involucrar un tiempo de desarrollo que no sea muy absorvente para que
                                                     economicamente valga la pena.
  • El estar preparados y capacitados en el area de control es fundamental, existen y se 
                                                     pueden armar tableros con PLC, pantalla HMI, equipo periferico a controlar y realizar practicas de programacion de los mismos.
  • Cada marca de PLC ofrece su propio software de programacion aunque actualmente varios estan
                                                     optando por realizar sus software bajo un protocolo abierto al que le llegan a nombrar open source.
  • Los tableros de control de nuevos estan bien ordenados y asi deberian de seguir aunque se les diera
                                                     servicio, pero es comun que los tecnicos empiecen a crear desorden a tal punto que llegan a formarse verdaderas telarañas
                                                     de cables, en esos casos conviene realizar una reconexion y posiblemente una actualizacion de tecnologia.
  • Al programar una pantalla HMI se considera una sincronizacion en tre la señal 
                                                     grafica en pantalla y el puerto conectado del PLC.
Mantente en contacto...
SERVICIOS ELECTRONICOS
Ciudad de Mexico, C.P. 14140
Morelia, Mich., C.P. 58337
MEXICO

(55) 4415-7934
gustavo.servelect@gmail.com

Pages
  • Press release
  • Terms and conditions
  • Privacy policy
  • Career center
  • Contact us

© SERVELECT 2016 All right reserved. By Bootstraptaste